M1890-S Programmable Position Transducer and
Selsyn Indicator
Replacing Electromechanical Selsyn Systems,
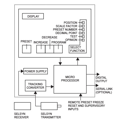
AVG Automation's M I 890-S Programmable Selsyn Indicator (PSI) is designed to replace electromechanical Selsyn torque receivers driving mechanical production meters. It is completely solid-state and fully compatible with existing Selsyn systems. It can be connected directly to Selsyn transmitter, differential pair, or in parallel with mechanical indicators without loading and needs no changes in the existing cables. The PSI derives its power from the Selsyn reference voltage. The position information from the Selsyn transmitter is converted to binary data by an internal ratiometric converter and processed in the microprocessor together with other program variables like scale factor, preset number, etc. The actual position is then displayed on the front panel 5-digit display and parallel BCD output is made available to provide information to other systems requiring positional data.

All the features described for 1890-R are also available for 1890-S model.

